Surround Configuration | TB5 v7.4
5.1 mixing functionality is available for DHD 52/MX and 52/XR devices with firmware version 6.4.4 or higher and a suitable TB5 version.
This function is redesigned in TB5 v7.4. For older versions or alternative ways see This Page.
Signal Flow of 5.1 Surround and Stereo Mixing Busses
The following flow chart shows the signal flow of mono, stereo, and surround signals connected to stereo and surround busses.

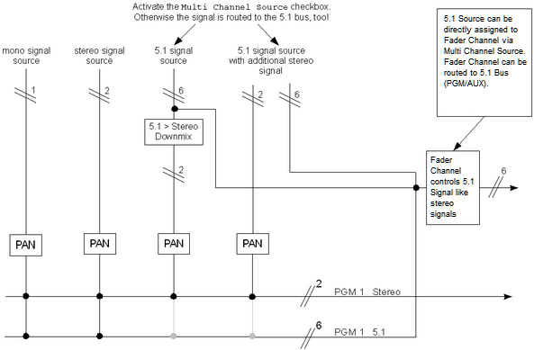
Mixing Mono and Stereo Signals to 5.1 Busses
First of all, it is necessary to create a 5.1 mixing bus. Therefore, in the project tree, select <Device>/<Mixer>. Create a new PGM bus and select Surround 5.1 in the Format list. The Bus Number needs to be incremented according to the number of existing PGM busses (in this example the PGM busses 1 and 2 are stereo; PGM bus 3 is 5.1). Do not start with bus number one again because the 5.1 bus is added to the existing PGM busses.

The output routing works in the same way like it does for mono and stereo busses. In the project tree, select <Device>/Audio/Output Routing. Choose six unused outputs you want to use as surround channels. Click Select Source. In the Audio Sources window, select Mixing Functions and drag every 5.1 channel to the desired output in the Output Routing list.

Surround panning and further 5.1 channel options are explained in the section Miscellaneous Surround Functions.
Working with 5.1 Input Signals
Proceed as follows if you want to feed your DHD system with 5.1 signals. In the project tree, select <Device>/I/O Overview, find the surround inputs, and enter appropriate names.
In the project tree, select <Device>/<Mixer>/Fader Channels and create a new fader channel. Enter an appropriate name for the fader channel. Activate the check box Multi Channel Source and select the Tab Multi Channel. Now you can select your inputs directly for each channel. Assign it to a physical fader <Device>/<Mixer>/Channel Assignment.
Working with 5.1, Stereo, and Mono Sources
If you want to add stereo and mono signals to 5.1 sources, the configuration process is a mixture of the two aforementioned possibilities. At first, follow the instructions of the section Working with 5.1 Input Signals. Afterwards, create a surround program bus like described in the section Mixing Mono and Stereo Signals to 5.1 Busses. This surround bus needs to be added to the six SOFs (see Working with 5.1 Input Signals) as an additional input. This way, the surround program bus is mixed with the other surround input signals in these super output functions.
How to Create a 5.1 to Stereo Downmix
In a broadcasting environment, surround programs are mostly produced parallel to compatible stereo versions of the same content. Therefore, or for simple monitoring applications it is useful to create a 5.1 to stereo downmix in the background.
The mix levels for each of the surround channels in the following descriptions are taken from the appropriate recommendations by the ITU (International Telecommunication Union). Other levels are possible and may dependent on your special needs.
Downmix Surround Source or PGM Bus to Stereo Output
In the <Device>/Audio Tree you find a new Option: 5.1 Downmix. You can select if you want to have an ITU 775-3 Downmix or set Manual Parameters (Left total/Right total).
Just select your Sources, normally your 5.1 PGM bus. You can select every Source you need, e.g. AUX, PFL, or PGM busses.
You are now able to use your Downmix as a normal Audio Source.
Downmix Surround to Mono
The easiest way is to use a Stereo Downmix as base (see Downmix 5.1 Source to Stereo). With this Downmix, you can create a single Output Function.
Go to <Device>/Audio/Output Functions and Add a new Output Function. For a Stereo to Mono Downmix, you need to select source 1 as your left and source 2 as your right channel. The Levels have to be set to -3 dB for each Source to match standards.
LFE Channel Handling in Surround Downmixes
The ITU (International Telecommunication Union) does not recommend adding the LFE channel to surround downmixes in general, to protect smaller playback systems from damage or signal distortion caused by the high level of low frequencies these systems cannot deal with. If you want to include LFE channels to your downmix, it is reasonable to provide several, switchable mixing ratios.
This can be realized with the already created super output functions. Select an input for the LFE channel and create as many sources as mixing ratios shall be provided. Assign the LFE channel audio input to every source of the respective SOF input and define an amplification/attenuation value. The first source of the SOF input should be set to Off to be sure that it is not added to the downmix by default. For the other sources, you should set some useful level values. The different sources can be chosen by logic conditions. For example, logic functions controlled by user-defined buttons of a mixing console.
For protection purposes, it is also possible to add a high-pass filter to the LFE channel. To realize that, you can send the LFE signal to a fixed processing with a high-pass filter and a desired cutoff frequency, respectively. The output of this fixed processing can be used in the downmix.

Please see the section Downmix a 5.1 Source to a Stereo Input to find general information on creating super output functions.
Miscellaneous Surround Functions
The best way to handle surround functions is to use TFT displays and encoder elements. Therefore, three new encoder elements have been designed.
- 5.1 Pan/Bal: Enables you to pan between left, center, and right.
- 5.1 Surround: Enables you to pan between front and rear.
- 5.1 Misc: Enables you to control further surround parameters.
5.1 Misc Parameters
LFE Send: Enables you to send signals to the LFE channel with a desired level. The level is settable between -oo and +15 dB. The LFE send is fixed located after the fader.
LFE Mix/only:
LFE Mix: The standard operating mode. The LFE send signal is used as the normal program signal.LFE only: Mutes the channels FL, FR, C, LS, RS, and the signal is only sent to the LFE channel. The LFE effect level can be controlled by the fader. Please keep in mind that the LFE send is an after-fader function.Divergency: Enables you to define whether the signal of the center speaker is only generated by the center signal (setDivergencyto 10) or as a phantom sound source created by the left and the right signal (setDivergencyto 0). Interim values can also be chosen.
In TFT views for 5.1 Pan/Bal and 5.1 Surround panning, it is useful to locate the surround panning encoder element directly underneath the Pan/Bal encoder element. If you combine these encoder elements, a quadratic matrix is shown wherein the position of the phantom sound source is visualized.
If there is at least one surround bus configured in the system, the standard Pan/Bal encoder element is expanded by the surround panning options and the misc functions. This is especially useful if there is less space left in the TFT fader view or if there are not enough encoders available because you are able to control all surround panning options and misc functions with one encoder.

Example of a fader view with surround options. Screenshot of the Toolbox5 TFT view.

Screenshot of the real TFT view.
Surround Peak Meter (PPM)
To show surround signals you need to configure three stereo level detects and one PPM. The sources of the level detects are L/R, C/LFE, and LS/RS. Please notice that the center and LFE signals are handled as a stereo pair internally. This way, the Center and LFE levels can be shown with one PPM. Thereby, the left signal is always center and the right signal is LFE.
The Level Detects must exist in the order L/R, C/LFE, Ls/Rs in a row on the Level Detects Page. Otherwise, 5.1 PPM will use the wrong data sources.
Use the PPM 5.1 Channels Peakmeter Element on your View. In the Edit Window, you can just select the first Data source (Level Detect L/R). The Peakmeter will then use automatically the following two level detects.
Surround Monitoring
The following example explains a possibility how to monitor stereo and surround sources on a 5.1 monitoring system.
At first, it is necessary to choose some buttons for switching between the different sources. Select the key function user defined for these buttons and enter appropriate names (for example: PGM 5.1 PGM Stereo, PGM Downmix).
In the project tree, select <Device>/Logic/Logic Functions and create a logic function for each source you want to be able to choose. The sources of the logic functions are the corresponding user-defined buttons. It is important to group these logic functions and to assign them to interlock logic busses so that always only one of the sources can be activated. That means, an active source is switched off if another source is selected.

Moreover, it is necessary to define a potentiometer that is used to level the loudspeakers. Depending on the used hardware modules, a defined number of potentiometers is configured by the system automatically (potentiometers of hardware modules). If you want to use such a hardware potentiometer for leveling, you do not need to take care of the next paragraph.
If an encoder should be used for leveling you have to create a software potentiometer by yourself. Therefore, in the project tree, select the <Device>/Audio and select the Potentiometer tab. Add a software potentiometer, enter an appropriate name and assign it to the mixer wherein the potentiometer will be used. In the project tree, select <Device>/<Mixer>/Console, select the desired encoder on the console, and choose Potentiometer in the Function box. A list with all available potentiometers shows up and you have to select the afore created software potentiometer.
Output functions are required for each mono channel to handle the switching between the audio sources and to connect potentiometers to these sources. Accordingly, you have to create 6 output functions for a 5.1 signal. Do not assign any source to the first source of every output function and set the level to Off. This makes it possible that no audio is routed if none of the sources is selected. The output functions 1 and 2 are defined for stereo signals as well as the left and the right channels of 5.1 sources. The output functions 3, 4, 5, and 6 are created to handle the center, LFE, and rear channels of the 5.1 signal. For example, if you have one surround and two stereo sources, you have to create 3 additional sources in the output functions 1 and 2 as well as one additional source in the output functions 3, 4, 5, and 6.

Select the audio signals that belong to the sources of each output function. In the Audio sources window, you have to select the afore created potentiometer which should control the level of the audio that passes the respective output function.
Afterward, you have to choose the logic conditions for switching between these sources. To do this, use the afore created logic functions. By pressing the user-defined buttons, the sources are switched in the corresponding output functions.
In the project tree, select <Device>/Audio/Output Routing. Connect the output functions with a physical output.
If you want to create a DIM function for a 5.1 monitoring system, the most simple way is to send the 6 created output functions to 6 extra output functions where the DIM is realized. These 6 output functions need to be assigned to the physical outputs.
Another possible way to do switching in the output functions is to use selector logics. Therefore, you have to use a selector and the monitor bus function on the keys, you want to use for switching. Within the monitor bus function, you can only select stereo sources that should be switched. Choose the created selector as well as the left and the right channel of the 5.1 signal as Left and Right Source. Consequently, you can use a selector logic as logical source for switching the audio sources of the output functions. Therefore, you have to add a selector logic for every 5.1 channel. Choose the created selector as left and right source at the corresponding monitor bus key. By pressing these monitor bus buttons to choose the left and the right channel, the selector logic becomes true and with the concerning output functions you can switch to C, LFE, LS, and RS.
Which of the two ways you should use depends on your configuration and for what you have a preference for.